It’s been a month since we first heard rumors that the Switch 2’s new Joy-Cons could be slid across a flat surface to function like a computer mouse. Now, a newly published patent filed by Nintendo seems to confirm that feature and describes how it will work.
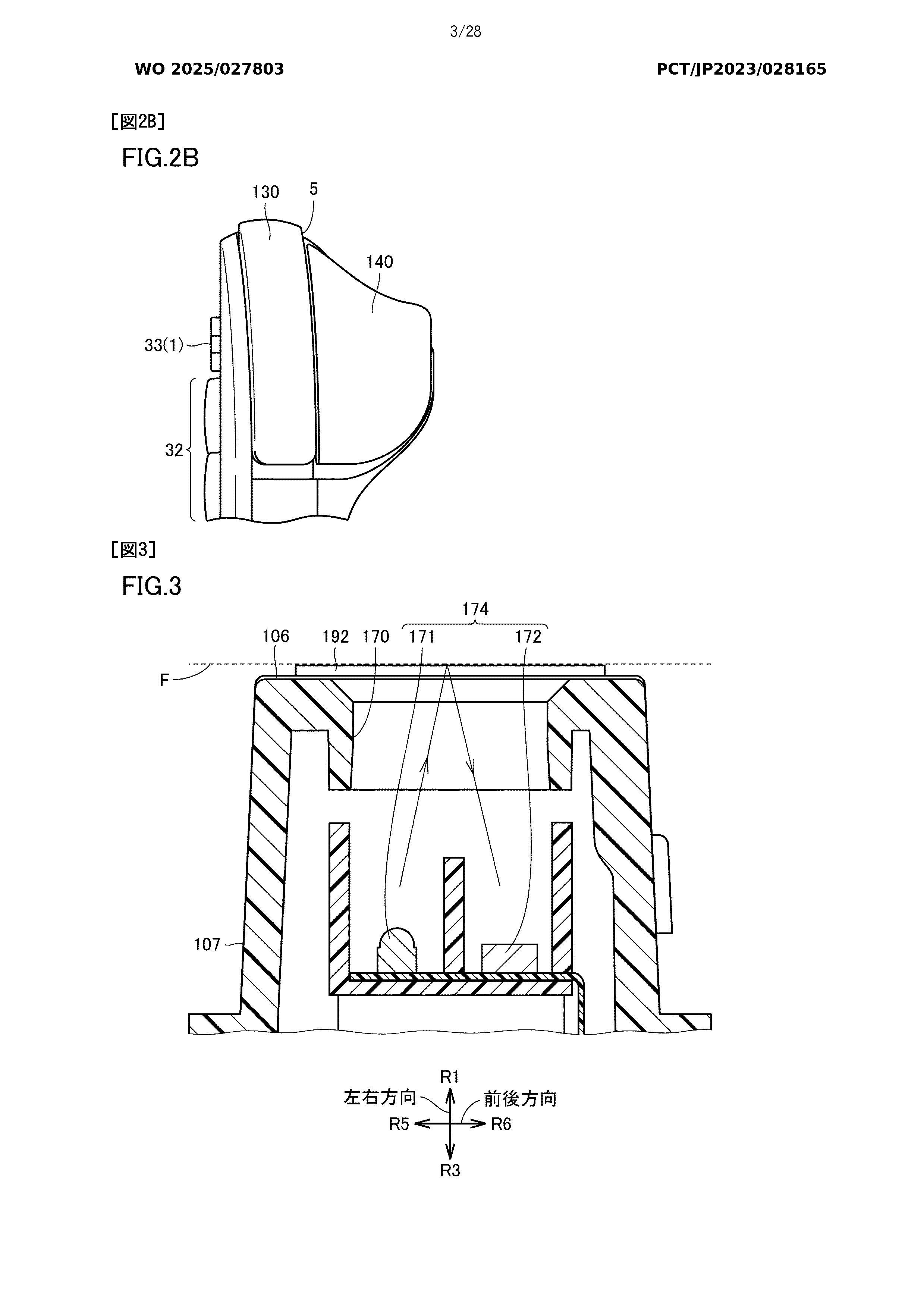
The international patent was filed with the World Intellectual Property Organization in January 2023, but it was only published on WIPO’s website on Thursday. The Japanese-language patent—whose illustrations match what we’ve seen of Switch 2 Joy-Con precisely—features an English abstract describing “a sensor for mouse operation” that can “detect reflected light from a detected surface, the light changing by moving over the detected surface…” much like any number of optical computer mice. Schematic drawings in the patent show how the light source and light sensor are squeezed inside the Joy-Con, with a built-in lens for directing the light to and from each.

Credit:
Nintendo / WIPO
A machine translation of the full text of the patent describes the controller as “a novel input device that can be used as a mouse and other than a mouse.” In mouse mode, as described in the patent, the user cradles the outer edge of the controller with their palm and places the inner edge “on, for example, a desk or the like.”
In this configuration, the user’s thumb can still access the analog stick (which is now pointing horizontally) while the index and middle fingers are positioned so the two shoulder buttons “can be operated as, for example, a right-click button and a left-click button,” according to the patent. The patent describes this configuration as “easy to hold” or “easy to grip.” It also goes to great lengths to explain how the shoulder buttons wrap around the curved top corner of the controller and thus are “easy to press” by pushing either downward or closer to horizontally with a finger.

